→アップダウンキャスターの特徴と使用例・便利な使い方をこちらでご紹介しています!

アップダウンキャスターの構造に関して、(有)櫻井金具製作所は日本のみならず米国においても幾つかの特許権を保有しております。当社顧問弁護士、弁理士により、法的措置による厳粛管理が行われております。権利に関するお問い合わせは、(有)櫻井金具製作所までお願い致します。
SAKURAI HARDWARE CO. has some patents for "Up Down Caster" in Japan and U.S.. These patents are legally administrated by our corporate lawyers. If you have inquiries for them, please contact SAKURAI HARDWARE CO.

【材質】ABS/ジュラコン【耐荷重】437kgf
【軌道】直進式 【特徴】側面取付で使用可能、スリムタイプはコンパクトデザインが実現

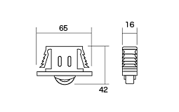
【材質】ABS/ジュラコン 【耐荷重】168kgf
【軌道】直進式 【特徴】埋め込み取付けタイプ、ビス止め作業不要(但し、飾り穴を利用したビス止めも可能)

【材質】ナイロン
【耐荷重】30φタイプ:約505kgf/40φタイプ:約840kgf
【軌道】回転自在式 【特徴】>30φタイプ:長方形プレート/40φタイプ:ソケット取付、ノックダウン対応

【材質】ナイロン
【耐荷重】50φタイプ:約958kgf/WモーションキャスターI:約957kgf
【軌道】回転自在式 【特徴】回転プラ脚対応、Wモーションキャスターはダブルモーション切替機能付

【材質】ナイロン
【耐荷重】キャスターII:約957kgf/キャスターIII:約957kgf
【軌道】回転自在式 【特徴】回転プラ脚対応、Wモーションキャスターはダブルモーション切替機能付
→アップダウンキャスターの特徴と使用例・便利な使い方をこちらでご紹介しています!
アップダウンキャスターの構造に関して、(有)櫻井金具製作所は日本のみならず米国においても幾つかの特許権を保有しております。当社顧問弁護士、弁理士により、法的措置による厳粛管理が行われております。権利に関するお問い合わせは、(有)櫻井金具製作所までお願い致します。
SAKURAI HARDWARE CO. has some patents for "Up Down Caster" in Japan and U.S.. These patents are legally administrated by our corporate lawyers. If you have inquiries for them, please contact SAKURAI HARDWARE CO.
ホーム| セレクトキャスター| アップダウンキャスター| 集中ロックキャスターシステム| 会社概要| お問い合わせ| 特許に関して